浏览:610次 2013/10/08

HLN-11A里氏硬度计概述:
HLN-11A里氏硬度计是一种新型的便携式硬度测试仪器,HLN-11A里氏硬度计,主要适用于测试金属材料的硬度,具有测试精度、体积小、操作容易、携带方便,测量范围宽的特点,它是以里氏硬度为原理,测出里氏(HL)硬度值经过程序自动转换成布氏,洛氏,维氏,肖氏等硬度值,还可以配置各种测试配件,来满足于各种测试条件和环境,HLN-11A里氏硬度计,主要适用于金属材料的快速硬度测试,特别适宜对大型零部件及不可拆卸部件的现场硬度测试。
功能特点:
可测试六种硬度制(HV、HRC、HRB、HB、HV、HS),并且之间可以相互转换。
可配置六种不同的冲击装置,(D、DC、D+15、C、DL、G)。
自动识别冲击装置类型(D、DC、D+15、C、DL、G)。
按键少,操作方便,可直接通过键盘选择测试材料及测试方向。
打印机与主机可分离。
可打印测试结果。
技术规格及参数:
可测试硬度制 HL、 HRC、HRB、HV、HB、HS
测试精度 相对误差±0.8%、示值重复性误差0.8(HLD=800)详情见表二
标准冲击装置 D型冲击装置(详情见附件表一)
上下限设置测量范围 (170~960)HLD
可选冲击装置 D/ C /DC / D+15 / DL/ G
同时可配冲击装置数量 一套
计算机接口 无
显示文字 英文,
屏幕显示 无背光
测试方向 任意
数据储存 无
测量工件的最大硬度颠值 940HV(D/DC/DL/D+15/C冲击装置)
测量工件的曲率半径 Rmin=50mm(用异型支承环Rmin=10mm)
识别功能 自动识别冲击装置类型功能
打印机类型 可拔插针式打印机
测试材料数量 9种(不含不锈钢)详情见附件表一;
自动检测电压 无
电源 充电电池NIMH4.8V,1200mAh
充电器 9V75mA
外型尺寸 270×86×47mm
重量 650g(包括冲击装置和打印机)
----------------------------------------------------------------------------------------------------
延伸阅读:
HLN-11A里氏硬度计怎么校准
首先要确保装机装置是正常的。然后,打开机盖,里面有个小开关组,上面标的是123456,除了6不要动,其他5个随便你调,如果改不过来,那就需要动另外个地方,必须打开机壳,电路板上校准。
试件的预处理:
1、HLN-11A里氏硬度计被测表面的准备:被测表面过于粗糙,则会引起测量误差。因此,试件的被测表面必须露出金属光泽,并且平整、光滑、不得有油污。
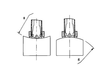
2、曲面:当被测表面曲率半径R小于30mm(D、DC、D+15、C、E、DL型冲击装置)和小于50mm(G型冲击装置)的试件在测试时应使用小支撑环。

为方便HLN-11A里氏硬度计对各种异型的曲面的测试,对D、DC、D+15、C、E型冲击装置,请参照下表选用异型支撑环。